
Desde hace rato que se especula con la posibilidad de que Apple incorpore un lector de huellas dactilares en el próximo iPhone. Esto ofrecería una forma más segura y rápida de desbloquear al dispositivo sin tener que ingresar un código manualmente. Hasta ahora se creía que el lector estaría ubicado en el botón de inicio, pero una nueva patente publicada hoy sugiere que el sensor del iPhone 5S podría estar integrado en la pantalla del teléfono.
Esto explicaría el rediseño de la pantalla de bloqueo de iOS 7, que deja de lado el control de deslizar para desbloquear. En el nuevo iOS 7 se puede tocar y deslizar hacia la derecha desde cualquier lugar de la pantalla.
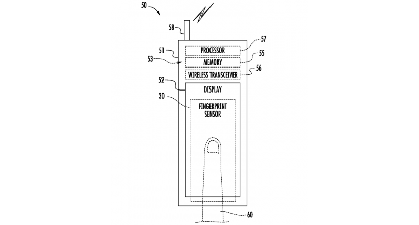
Los rumores acerca de la integración de un lector de huellas dactilares en el iPhone comienzan cuando Apple adquiere a AuthenTec, una compañía que se especializa en seguridad móvil. Siempre se especuló con que el lector sería integrado en el botón de inicio, pero aparentemente Apple ha logra integrar esta tecnología directamente en la pantalla.
La tecnología de Apple es diferente a otros lectores que se utilizan en computadoras portátiles y algunos otros dispositivos. En lugar de utilizar un sensor de hardware agregado, la nueva patente muestra una solución que se acerca más al estilo de Apple, permitiendo a los usuarios colocar sus dedos directamente sobre la pantalla táctil del dispositivo. Esta tecnología analiza el dedo píxel por píxel para determinar si se trata o no del dueño.
Esta no es la primer patente de Apple relacionada con tecnologías de reconocimiento dactilar, pero hasta el momento no han sido aplicadas a ninguno de sus productos. Solo queda esperar y ver si realmente Apple finalmente decide añadir un lector de huellas dactilares al próximo iPhone, iPod touch o iPad y de ser así que método utiliza.